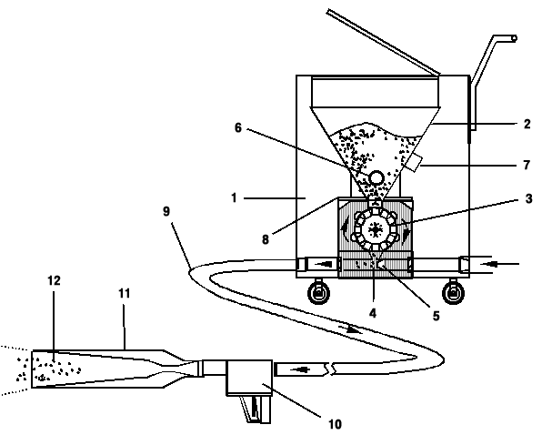
一.介紹 通過使用清洗劑,以除去表面上的雜質的步驟,以保持產品的純度所需程度的清洗過程,是必不可少的過程,應用在各行業中。 (1) wateuna電子性顆粒清洗劑的清洗方法,或使用電子常規方法被替換為基于烴,基于遵從性,水基清洗劑,而后者已根據環保法規已基本禁止。最近開始使用突馳干冰顆粒的清潔,選擇這種清洗方法,不會造成水質二次污染的風險,而且無害于人體,突馳干冰科技干冰清洗結束后無需二次處理,環境友好的并且已經廣泛研究了用清潔方法替換電子清潔區域的方法。這種方法在清洗化學污染物的速度也是非常迅速。 (2) 半導體開始,光學,機械,金屬,化學品,貨架,建筑外墻和隧道內壁,室內雕塑,醫療,核電站,已經廣泛用于各行業等,并在除漆表面,技術,環境行業等有著重要地位,包括飛機去除污染物。對于清潔復雜的表面形狀特別有效,不需要拆卸和組裝以進行清潔。另外,清潔過程的特點是具有高清潔效率的清潔過程。另外,二氧化碳被分類為美國EPA,F.D.A和USDA正式批準的安全,無污染氣體。 研究相關的技術,稱為專利噴砂法[5]干冰噴射設備,然而,關于干燥尼龍的清潔原理和速度的研究很少[16-17]。 在這項研究中,直接使用干冰顆粒噴砂清潔裝置,它是一種洗滌能力的控制方法和清潔效率,以及我們檢查了去除污染膜的能力。 處理了噪聲問題并嘗試系統研究,為實際使用干冰顆粒噴射清理裝置和工藝做好準備。 二.實驗 2.1干冰顆粒噴射器 本研究的料斗式爆破裝置。  圖1是突馳科技特有的攪拌式噴砂方法,使干冰遇到空氣并通過噴嘴在高壓下噴射。 1.爆破裝置 2.料斗 3.氣鎖送料器 4.t型片 5.混合高速空氣噴嘴 6.滾筒 7.振動器 8.顆粒消耗傳感器 9.高壓混合軟管 10.噴嘴槍 11.分流噴嘴 12.干冰顆粒 本研究的爆破裝置不是吸氣式  1.噴嘴部分3.第一噴嘴部分 2.噴嘴頸部4.噴嘴第二擴散 圖2示出了適用于壓力爆破的改進的收斂分流噴嘴。 制造2個擴散噴嘴。即使在低壓和少量空氣的情況下,噴嘴的設計也能使噴嘴達到最大流量。使用兩種類型的圓形噴嘴和風扇(矩形噴嘴)。另一方面,氣鎖供應的目的是盡量減少干冰顆粒的反向流動,墻壁附件,并實現持續的定量供應。 當料斗中的粒料通過氣密送料裝置落入T型混合位置時,爆破裝置插入混合段高速空氣噴嘴,以平滑粒料與壓縮空氣的混合。這是,為了防止顆粒從料斗進入料斗的過程中產生顆粒團,通過攪拌棍和振動器順利地供應顆粒,并且負載安裝一個電池傳感器和液位測量裝置,以便從外部可以知道料斗中的顆粒的消耗量。換言之,將干冰顆粒填充到料斗中,并且料斗中的顆粒由攪拌輥和振動器順利地引導而沒有拱起,并且通過氣鎖供給裝置落入T形槽中,沿著高壓空氣擴散噴嘴并通過混合高壓軟管。 突馳干冰清洗設備裝置產品的規格。 尺寸:580 x 550 x 750mm 體重:94公斤 料斗容量:28公斤及以上 干冰消耗量:0.4至1.5公斤/分鐘 空氣壓力:2.5至10巴 空氣消耗量:2至6立方米/分鐘 2.2實驗方法 本實驗的目的是開發和量化干冰顆粒爆破過程,設計和制造干冰顆粒制造機和爆破設備,測量與干顆粒存儲容量有關的升華速度,關于洗滌功率的測量以及由要清潔的變量的噴射變量和清潔速度來進行實驗。 爆炸過程變量 顆粒的去污力可變。 效應測量變量的影響 干冰顆粒爆破過程變量的變化 過程變量范圍 爆破壓力(bar)2,3,4,5,6,7 * 爆破距離(mm)5,10 *,20,30 爆破角度(°)30,45,60,90 * 供應率 干冰顆粒(kg / min)0.5,0.65,0.8,1.0,1.2 * 噴嘴類型(類型)圓形*,風扇 基材鋼*,銅,黃銅,丙烯酸,玻璃 觀察保存了多少 測量它們的升華速率。將一定量的干顆粒置于天平上,測量重量隨時間的變化,同時保持與噴砂裝置相同的條件 其中m(t)是殘余干冰顆粒與初始質量的質量比。 為了比較,暴露的空間(風對流)中的升華量0.4372噸 因為它得到。 m(t)= 1.0262e 2.3膜和清潔速率定量裝置的制造 金屬表面去除油漆是干冰顆粒爆破的一個重要應用領域。為此,本實驗中使用的基材的條件是1mm的厚度黃銅,銅(100%),鋼S45C,(Lot No.1001-777)中,使用棒涂法以30μm的厚度涂布包含丙烯酸,玻璃(10mm)和顏料的著色涂料。阿爾法步驟-200,PENCOR儀器),厚度和硬度(Future-Tech.Fm-7)。為了進行更精確的定量實驗,本研究中制造的量化系統能夠通過減速電機水平地進行板的線性往復運動。這個定量的電機的轉速調整為5-400厘米/分鐘,可以以各種速度控制直線往復運動。有一個往返距離80厘米。受污染的基材也由清潔過程中保持基材的支架固定。噴射裝置的噴嘴與該定量裝置成直角固定并且安裝成使噴嘴與基底之間的距離和角度可以改變。 3. 結果和審查 3.1干冰顆粒的升華率 干冰顆粒在爆破裝置內的料斗 這意味著升華率 dm(t)= - km(t) 升華速度不變 這意味著它通過對流從0.316增加到0.437 要。 封閉料斗的半衰期為2.19小時, 在開放狀態下是1.59小時。 3.2洗滌力的測量 清潔機制分為沖擊和熱效應。 3.2.1單位面積清潔影響的測量 Piezodynamomer(ATTONIC,MP-2)的通過使用基板,由傳感器板垂直地在根據噴嘴圖之間的距離的儀器的上部測量的結果爆破每單位面積單位(自由射流)的功率。值得注意的是,沒有干冰顆粒的空氣噴射。如果距離5厘米到20厘米的距離為4厘米,則力減小到1/5,但對于具有干冰顆粒的噴射器,測試條件(5-20厘米)沒有區別。此不能維持僅如果空氣速度顯著下降到邊界層(邊界層)的存在下形成在基板的表面上增加注射區域,固體干冰顆粒速度幾乎是由于慣性力,并且噴射角是開放的寬但它突破了邊界層,爆破力下降不到3%。 同時, 去污力與干冰噴射質量速度成正比。這是為了證明沖擊力對干冰顆粒的清潔效果。 3.2.2熱效應 據報道,熱效應在干冰顆粒清潔中不僅僅是沖擊力。影響:熱效應已知受到60:40的影響。因此,在注入時(60秒:停留在最大注入的一點的最大時間),襯底的表面溫度改變。,溫度按照銅鋼 - 黃銅 - 丙烯酸玻璃的順序降低。這個序列是唯一的基本上污染物的熱導率是在geoteu相關的幫助熱傳導材料低是襯底的熱傳導率是對基板顯示污染物和襯底硬,以協助清潔之間的熱差相對高的第一溫度太強給。然而,一直是環境濕氣凝結的整體溫度的一個例子在襯底line've的低污染之間的熱差異的熱傳導率發生容易洗掉率顯著降低。因此,爆破的清潔能力取決于溫差引起的熱效應以及物理沖擊。 3.3清潔率的研究 清潔速度的參數可以分為設備,顆粒,過程和清潔變量。其中,設備變量,顆粒變量和過程變量是爆炸變量。在這項研究中,噴嘴間距離,噴射角度和干冰噴射質量速度作為爆炸變量的重要參數進行了實驗研究。首先,將諸如玻璃,黃銅,銅,鋼和丙烯酸等變量用作基材的參數,并將汽車涂料,油脂和環氧樹脂用于變量。以下是根據爆破變量,基質參數和污染物變量對清潔劑效率的調查。 3.3.1注射距離的影響 當諸如噴嘴的頸部尺寸和噴嘴尖端的面積等條件類似時,風扇噴嘴通常具有比圓形噴嘴更高的清潔速度。當風扇噴嘴的距離增加5倍時,清潔速度降低到1/5。這相當于最大面積的增加。換句話說,沖擊射流意味著在整個區域上的沖擊力是相同的。在圓形噴嘴的情況下,清潔區域對距離的依賴性較低,因此,對圓形噴嘴距離的依賴性低于風扇噴嘴。風扇噴嘴集中在靠近圓形噴嘴的地方,因此清潔力很高。另外,結構圓形噴嘴線性強,這意味著傳播距離比噴嘴小。 3.3.2噴射角度的影響 噴射角度的影響是,如果噴射角度減小,則噴射面積增加,但預計沖擊減小。作為一個簡單的假設,清洗力與sinθ成比例地變強,相反,要清潔的區域將以反比例確定,判斷為與噴射角度θ的角度大致成正比。 如果清潔機構不是簡單地與力成正比,看起來,該過程與剝落涂料基材的應變和屈服點之后的開裂現象無關。這可能是由于應變的角度依賴性,但需要進一步研究這種效應。 3.3.3注射質量速度的影響 隨著噴霧量增加,干冰顆粒噴射量的影響增大。這是因為碰撞干冰顆粒數量增加時它是出口。然而,這適用于在達到適當的噴嘴頸截面積下的充分去除速率的情況下達到壓縮空氣的流量的任何限制。例如,在噴嘴頸部橫截面積處沒有足夠去除速率的壓縮空氣流速下,干冰粒越多,去污力越低。這是因為可以充分加速至空氣流速的干冰顆粒的量受到限制,從而由于干冰顆粒的量太大而導致顆粒速度減慢。此外,壓縮空氣可以被充分加速的干冰顆粒的足夠量下的供給,由于空氣流量較少,如果加速度太小,噴嘴喉部的橫截面面積將減小了洗凈率。由此可以因為大尺寸的空氣流量噴嘴喉部的橫截面面積,以增加清潔率時增大的被充分加速的干冰顆粒的對比量。然而,如果噴嘴頸部的橫截面積過大,則需要大量的壓縮空氣,并且需要具有較大的空氣流量的壓縮機,這在經濟上是有利的。考慮到這是噴嘴喉部用于壓縮空氣的流動的最佳橫截面面積,并且也有實際的限制范圍的橫截面面積,有最佳匹配的干冰丸粒噴射量限制值。本實驗噴嘴的頸部橫截面 爆破參數對脫色率的影響。 (圓形噴嘴頸部:70mm 2,扇形噴嘴頸部:60 mm2)和壓縮空氣流量(3.3 m3 / min)時,隨著干冰顆粒注入量增加到1.2 kg / min,清洗功率增加。 3.3.4要清洗的基材的影響 據認為,上述基底涂料的粘附因子,表面粗糙度和基底的導熱率是影響清潔基底的因素。基板的熱導率越高,冷卻基板表面越困難,從而防止水的凍結并保持污染物與基板之間的熱差異。分別使用風扇噴嘴和圓形噴嘴清潔玻璃,丙烯酸,銅,鋼,黃銅板等的結果。,兩個噴嘴依次顯示玻璃 - 銅 - 黃銅 - 鋼 - 丙烯酸樹脂。 據發現,玻璃有最快的清洗效率,并且對油漆的附著力最弱。發生裂縫的實際發生率最高。 3.3.5根據污染物的類型清潔速度 在這項研究中,污染物類型的涂層,即油脂,涂料和環氧樹脂被涂覆成相同的厚度并干燥3天。 鋼和環氧樹脂在300-500平方米/分鐘的范圍內。然而,在希臘,它已超過3000平方米/分鐘。這是因為環氧樹脂是最多的洗滌劑的情況是油漆剝離試驗是最困難的情況。這種污染的硬度和附著力在表面上的表面粗糙度光滑的油漆表面粗糙度影響去污力,硬度強,似乎,因為吸煙也同樣出色部分粘附于表面。 3.4噪音水平 干冰顆粒阻塞,因為當有在高壓下注入空氣的許多量在短期內由于空氣被滿足與所述加速度和所述干冰和壓縮機,鎖氣喂料機和壓縮機噪聲的內壁,和噴嘴碰撞持久噪音和固體冰與基材表面碰撞造成的噪音。一般來說,這個總噪音是 通常已知約為100至120分貝。這種噪音問題也阻礙了干冰顆粒爆破的普及。 干冰清洗機該設備應盡量減少設備外部的噪音,但從氣鎖供應和噴嘴的底部。作為使用噪聲測量裝置(TES-1350A,TES Electrical Electronic Corp.)測量的結果,干冰顆粒爆破噪音水平下降到85〜100 dBA。 隨著離噴射射流的距離增加,聲壓級隨著對基板的沖擊減小而急劇下降。此外,在注射壓力通過根據爆破壓力,可以看出,不顯著影響總噪聲爆破表示噪聲測量結果的影響在上述3bar。 4.結論 通過固態碳酸的熱膨脹而固化的干冰顆粒通過制成雪花形狀的造粒機的模具注入,使用高壓空氣通過噴嘴加速噴射顆粒以去除各種污染物。 干冰清洗過程 開發和實驗。換句話說,本研究通過改變待清潔物體系統地研究了過程變量的影響,并檢查了清潔機制以發展清潔量化理論。通過這些研究,得出以下結論。 1.在這項研究中,建造一個干冰顆粒清洗裝置,用壓縮空氣從干冰顆粒中去除表面污染物。 2.根據本發明的干冰顆粒噴射裝置即使在壓力小且空氣量少的情況下也能夠獲得強的洗滌力。 3.干冰清洗裝置的料斗容量為28千克,顆粒的進樣量可在0至1.2千克/分鐘之間調節。根據干冰顆粒注入量和速度可以提高清潔效果。 4.本研究中,干冰顆粒爆破對各種污染鐵銹,油脂,漆膜和油漆去除具有優異的清潔能力。 5.干冰顆粒爆破的影響與極限距離內的距離無關,并取決于角度和干慣性質量速度。 6.爆破的清潔能力取決于靶材的沖擊,熱性能和表面粗糙度。清潔能力按照玻璃,銅,黃銅,鋼和丙烯酸基材的順序下降。 7.清潔速度取決于附著在同一基材上的污染物的硬度,并且按照油脂,環氧樹脂和油漆的順序減少。 8.干冰顆粒爆破噪音水平大致相當85-100分貝。 致謝 本研究由煙臺突馳電科技開展 2018.4.19
|